Ever wondered why some coatings last longer and look better than others? The secret often lies in what happens before the paint is even applied—something called pretreatment. If you’re considering powder coating for your products, understanding pretreatment is crucial to achieving the best possible results.
Pretreatment is the essential first step in powder coating, involving the cleaning and conditioning of surfaces to ensure that the coating sticks properly and withstands the test of time. Without it, even the highest quality coatings can peel, chip, or corrode prematurely, leading to unnecessary costs and headaches.
Interested in how pretreatment works and why it’s so important? Let’s explore the different methods and processes that set the stage for a perfect powder-coated finish.
Why Pretreatment is Essential?
Pretreatment is the foundation of a durable and high-quality powder-coated finish. Here’s why it’s indispensable:
- Enhances Adhesion
Removing contaminants like oil, rust, and dirt ensures that the powder coating bonds tightly to the surface, preventing peeling or flaking. - Improves Corrosion Resistance
Processes like phosphating or chromating add a protective layer, making surfaces more resistant to rust and environmental damage. - Extends Coating Longevity
Proper pretreatment results in a uniformly applied, firmly bonded coating, extending the lifespan of the finished product. - Ensures Consistent Quality
By standardizing surface conditions, pretreatment ensures uniform results across large production batches, maintaining high-quality standards. - Reduces Defects and Rework
A thorough pretreatment process minimizes coating defects, reducing the need for costly rework and production delays.
Types of Contaminants on Surfaces
Before powder coating can be applied, it’s essential to address the various contaminants that can be present on the surface of the material. These contaminants, if not properly removed, can significantly affect the adhesion and durability of the coating. Here are the most common types of surface contaminants:
- Oils and Grease
During manufacturing, oils and grease are often used for lubrication and cooling. However, these substances create a barrier that prevents the powder coating from adhering properly. If not removed, they can lead to defects such as fish eyes or uneven coating. - Dust and Dirt
Dust and dirt particles may seem insignificant, but even small amounts can interfere with the coating process. These particles can cause the powder to apply unevenly, leading to a rough or bumpy finish. - Oxides (Rust)
Metal surfaces, especially those exposed to moisture, can develop rust or oxidation. This layer of rust weakens the bond between the surface and the coating, making it essential to remove through mechanical or chemical means before proceeding with the coating. - Chemical Residues
Previous processes, such as cleaning or machining, might leave behind chemical residues like acids, alkalis, or solvents. These residues can react with the powder coating or prevent it from adhering correctly, resulting in a compromised finish.
Each type of contaminant requires a specific approach for removal to ensure that the surface is clean and ready for the powder coating process. Proper identification and elimination of these contaminants are critical steps in the pretreatment process.
Pretreatment Methods
Choosing the right pretreatment method is crucial for ensuring a strong bond between the powder coating and the substrate. There are several methods available, each suited to different materials and levels of contamination. Here’s an overview of the most common pretreatment methods:
Mechanical Pretreatment
- Sandblasting
Sandblasting uses high-speed abrasive particles to clean and roughen surfaces, effectively removing rust, paint, and other contaminants. This method is ideal for improving the mechanical adhesion of powder coatings. - Shot Blasting
Similar to sandblasting, shot blasting uses steel balls as the abrasive medium. It’s effective for cleaning large surfaces and also enhances the mechanical properties of metal parts through work-hardening. - Abrasive Cleaning
Abrasive cleaning involves various techniques using abrasive materials to remove surface contaminants. It’s used when a high degree of cleanliness and surface roughness is required for optimal coating adhesion. - Plasma Treatment
Plasma treatment is a precise method that cleans and activates surfaces at a molecular level, making it ideal for complex geometries and delicate materials. It enhances adhesion by increasing surface energy, making the surface more receptive to coatings. - Laser Cleaning
Laser cleaning uses focused laser beams to remove contaminants without damaging the substrate. It’s suitable for applications requiring high cleanliness and precision, often used in industries where surface integrity is paramount.
Chemical Pretreatment
- Phosphating
Phosphating involves applying a phosphate coating to the metal surface, which enhances corrosion resistance and improves adhesion. This method is particularly effective on steel surfaces and creates a crystalline layer that serves as an excellent base for powder coating. - Chromating
Chromating is a chemical process used primarily on aluminum and other non-ferrous metals. It creates a protective layer that enhances corrosion resistance and provides a good surface for the coating to adhere to. Due to environmental concerns, the use of chromating has decreased, but it remains effective for certain applications. - Alkaline Cleaning
Alkaline cleaning uses an alkaline solution to remove oils, grease, and other organic contaminants from the surface. It is often a preliminary step before other treatments like phosphating or chromating, ensuring the surface is clean and free of residues. - Acid Etching
Acid etching uses acids to remove oxides, rust, and mill scale from metal surfaces, particularly steel. The acid dissolves these impurities, leaving behind a clean, reactive surface ready for further treatment. - Passivation
Passivation enhances the corrosion resistance of stainless steel by removing free iron from the surface and forming a protective oxide layer. This method is crucial for applications where the material will be exposed to corrosive environments. - Ceramic Conversion Coating
This advanced method creates a ceramic-like layer on metal surfaces, offering excellent corrosion resistance and serving as a robust base for powder coating. It’s an environmentally friendly alternative to traditional methods like phosphating. - Silane Treatment
Silane treatment is an eco-friendly pretreatment method that enhances adhesion and corrosion resistance. It involves applying a silane-based solution, which forms a strong bond between the substrate and the powder coating.
Phosphating and Chromating
Phosphating and Chromating are two of the most established chemical pretreatment methods in the powder coating industry. These processes are particularly valued for their ability to enhance corrosion resistance and improve coating adhesion, making them indispensable in many industrial applications.
Phosphating
Phosphating is a chemical process where a phosphate coating is applied to the metal surface. This coating provides several benefits:
- Corrosion Resistance
The phosphate layer acts as a barrier that protects the underlying metal from moisture and environmental factors, reducing the likelihood of rust and corrosion. - Adhesion Promotion
The crystalline structure of the phosphate coating improves the mechanical bond between the powder coating and the metal surface. This stronger adhesion ensures that the coating stays intact even under harsh conditions. - Wear Resistance
Phosphate coatings can also enhance the wear resistance of the coated metal, making it more durable in abrasive environments.
Phosphating is commonly used on steel and iron surfaces, where it forms a fine crystalline coating that serves as an ideal base for powder coating. The process typically involves immersing the metal in a phosphating solution, followed by rinsing and drying. The result is a surface that is primed and ready for coating, ensuring long-lasting protection and aesthetic quality.
Chromating
Chromating, also known as chromate conversion coating, is another widely used chemical pretreatment, particularly for non-ferrous metals like aluminum, zinc, and magnesium. Chromating offers the following advantages:
- Enhanced Corrosion Resistance
Chromate coatings provide excellent corrosion resistance, especially in outdoor or harsh environments. This makes chromating a preferred choice for parts that will be exposed to the elements. - Superior Adhesion
Like phosphating, chromating improves the adhesion of powder coatings to the metal surface. The chromate layer chemically bonds with the substrate, creating a strong foundation for the coating. - Versatility
Chromating can be used on a variety of metals, making it a versatile option in many industries. It is particularly effective on aluminum, where it not only enhances corrosion resistance but also improves electrical conductivity.
Despite its effectiveness, chromating has faced increasing scrutiny due to environmental and health concerns associated with hexavalent chromium compounds, which are toxic and carcinogenic. As a result, many industries are shifting towards more environmentally friendly alternatives, such as trivalent chromium processes or non-chromate conversion coatings like ceranate or silane treatments.
Ceramic Conversion Coating (Ceranate) and Silane Treatments
With a growing focus on environmental sustainability and advanced technology, Ceramic Conversion Coating (Ceranate) and Silane Treatments are increasingly favored over traditional methods like phosphating and chromating.
Ceramic Conversion Coating (Ceranate)
Ceranate is a ceramic-like layer applied to metal surfaces, offering several key advantages:
- Environmental Friendliness
Ceranate avoids toxic chromium compounds, making it safer and easier on the environment. - Superior Corrosion Resistance
The coating forms a dense barrier, providing excellent protection against corrosion in harsh environments. - Enhanced Adhesion
The ceramic layer improves the bond between the metal and the powder coating, resulting in a durable, smooth finish. - Versatility Across Metals
Suitable for various metals, including aluminum, steel, and zinc, making it adaptable for diverse industrial uses.
Silane Treatments
Silane treatments are an eco-friendly alternative, offering strong adhesion and corrosion protection:
- Eco-Friendly and Safe
Free from hazardous substances, silane treatments reduce environmental impact and improve safety. - Strong Chemical Bonding
Silane creates a robust bond between the metal and the coating, minimizing peeling and flaking. - Improved Corrosion Resistance
Provides a protective barrier, ideal for environments where corrosion is a concern. - Application Flexibility
Can be used on various metals with different application methods, making it easy to implement. - Cost-Effective
Though initially more expensive, silane treatments can save costs over time by reducing waste and enhancing product durability.
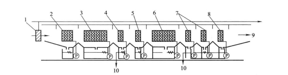
Pretreatment Process Steps

1. Hanging 2. Pre-degreasing 3. Degreasing 4&7. Water Rinsing 5. Surface Conditioning (Water Rinsing) 6. Phosphating 8. Deionized Water Rinsing 9. Drying 10. Drainage
The pretreatment process is a sequence of steps designed to prepare the substrate for powder coating. Each step plays a vital role in ensuring that the coating adheres properly and performs as expected. Here’s a breakdown of the key steps involved in pretreatment:
1. Cleaning
The first step in the pretreatment process is cleaning. This is crucial for removing all surface contaminants such as oils, grease, dirt, and rust that can interfere with the adhesion of the coating. Depending on the type and extent of contamination, different cleaning methods may be used:
- Alkaline Cleaning: Uses alkaline solutions to remove organic contaminants like oils and grease.
- Acid Cleaning (Etching): Involves acids to remove rust, oxides, and other inorganic contaminants, particularly on steel.
- Solvent Cleaning: Employs solvents to dissolve and wash away oils, greases, and other organic materials.
- Mechanical Cleaning: Methods like sandblasting or shot blasting physically remove contaminants and roughen the surface to improve adhesion.
2. Rinsing
After cleaning, rinsing is essential to remove any remaining cleaning agents, contaminants, or residues. This step ensures that the surface is free from any chemicals that could affect the subsequent coating process. Typically, the part is rinsed with deionized or distilled water to avoid introducing new impurities.
3. Surface Conditioning
Surface conditioning, or activation, prepares the metal surface for the application of the conversion coating. This step often involves applying a conditioning agent that ensures a uniform and consistent phosphate or chromate coating in the next stage. Surface conditioning helps improve the quality and uniformity of the conversion coating.
4. Coating Application
In this step, the selected chemical pretreatment—such as phosphating, chromating, ceramic conversion coating, or silane treatment—is applied to the surface. This process forms a protective layer that enhances both the adhesion and corrosion resistance of the powder coating. Depending on the method, the application can be done through immersion, spraying, or brushing.
- Phosphating: Commonly used on steel, this process forms a crystalline phosphate layer.
- Chromating: Often used on aluminum, this creates a chromate conversion coating.
- Ceramic Conversion Coating: Applied to various metals for enhanced corrosion resistance.
- Silane Treatment: An eco-friendly alternative that forms a strong bond between the substrate and the coating.
5. Final Rinsing
Following the coating application, a final rinsing step is performed to remove any excess chemicals or by-products from the conversion coating process. This step is crucial to prevent any residues from interfering with the powder coating. The final rinse may include a passivation rinse to enhance the corrosion resistance of the treated surface.
6. Drying
The last step in the pretreatment process is drying. The treated parts must be thoroughly dried to ensure that no moisture remains on the surface, which could cause defects in the powder coating. Drying is typically done using hot air blowers or drying ovens, ensuring the parts are completely dry before moving on to the powder coating application.
| Process | Steel Plate (Automotive) | Steel Plate (General Coating) | Steel Plate (Anti-Corrosion) | Cast Iron and Other Alloys (General) | Cast Iron and Other Alloys (Reaction Type) | Aluminum Plate (General) |
| Pre-clean Degreasing | ○ | ○ | ||||
| Degreasing | ○ | ○ | ○ | ○ | ○ | ○ |
| Rust Removal | ○ | ○ | ○ | × | × | × |
| Water Rinse | ○ | ○ | ○ | ○ | ○ | ○ |
| Surface Conditioning | ○ | ○ | ○ | ○ | ○ | × |
| Phosphating (Oxidation) | ○ | ○ | ○ | × | × | ○ |
| Deionized Water Rinse | ○ | ○ | × | × | × | ○ |
| Post Treatment | × | × | × | × | ○ | × |
| Drying | ○ | ○ | ○ | ○ | ○ | ○ |
Quality Control in Pretreatment
Ensuring quality during pretreatment is vital for a successful powder coating. Here are key control measures:
- Visual Inspection
Check for defects like incomplete cleaning or uneven coatings after each step to catch issues early. - Adhesion Testing
Perform tests like cross-hatch or pull-off to confirm the coating adheres well to the substrate. - Thickness Measurement
Measure the conversion coating thickness to ensure consistency and effective protection. - Corrosion Resistance Testing
Use accelerated tests, such as salt spray, to evaluate long-term corrosion resistance. - pH and Conductivity Monitoring
Regularly monitor chemical baths to maintain proper pH and conductivity levels. - Process Documentation
Keep detailed records of procedures and controls to maintain consistency and quality.
Environmental and Safety Considerations
In the pretreatment process, environmental impact and safety are critical concerns, especially when using chemical methods. Here are some key considerations:
- Chemical Handling and Disposal
Chemicals used in processes like phosphating and chromating require careful handling to prevent environmental contamination. Proper disposal procedures must be followed to comply with regulations and minimize environmental harm. - Worker Safety
Personal protective equipment (PPE) is essential for workers handling hazardous materials. Adequate ventilation, training, and safety protocols are also crucial to ensure a safe working environment. - Eco-friendly Alternatives
Methods like Ceranate and silane treatments offer safer, more sustainable options by reducing the use of harmful chemicals and lowering the environmental footprint. - Regulatory Compliance
Staying compliant with local and international environmental regulations is mandatory. This includes monitoring emissions, waste management, and adherence to safety standards.
Conclusion
Pretreatment is a foundational step in the powder coating process, ensuring that the coating adheres well and lasts longer. By choosing the right pretreatment methods and maintaining rigorous quality control, you can achieve superior results while also prioritizing environmental and worker safety.
Looking for reliable powder coating equipment to enhance your production? Contact us today to find the perfect solutions tailored to your needs.
